机械考研
Hello,各位27考研的小伙伴们~
今天,昊哥来帮你们分析的是27机械考研“专业课最难的5所院校”,希望帮助大家了解今年的整体难度,以便更好地规划复试。

803机械联考群

27机械考研总群
所有更新完的院校信息都会第一时间在QQ群:873838907内免费分享给大家,进群还可以领机械27择校宝典哟!
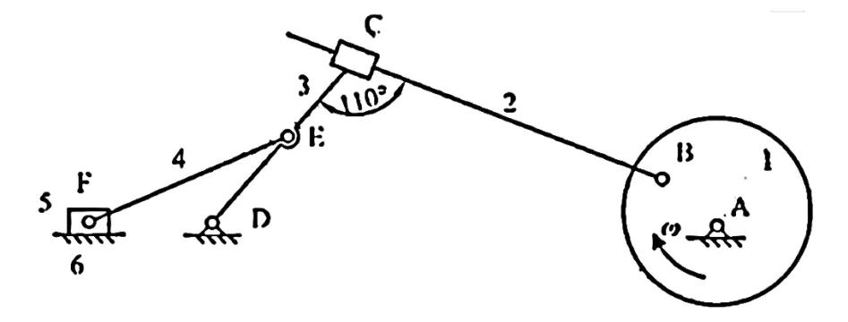
1.东南大学

四杆题目

齿轮题目




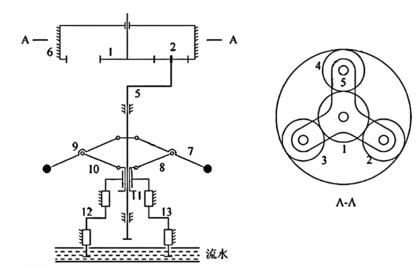
2.中国矿业大学

中国矿业大学完整的卷子还没有得到,但是单单看下面自由度和运动分析的题目,就已经感受到难度。就目前的考生反馈而言,今年矿大的卷子应该是历年真题里面最难的一张卷子。
自由度题目

矢量图解法题目




3.南京理工大学

今年南理工专业课试题题型跟往年真题一样,一个客观小题然后全是大题,难度比去年大,计算量很大,重点在解题的步骤上。客观题共有六道小题,其中蜗轮蜗杆计算题比较偏。齿轮计算题难度系数挺大,考的是斜齿轮和锥齿轮,计算很大有点挺搞心态。
轮系和等效动力学模型计算题难度系数挺大,考的是多个行星轮被同一系杆支持的题型,也算常规,等效动力学模型计算有些难度。
力分析与效率压轴,答出来的同学应该非常少。但飞轮调速计算完全是送分题。





4.合肥工业大学

合肥工业大学机械专业课题型和往年一样,十一个大题,考察范围也没有太大的变化,虽然难度比去年稍微小一点,但综合下来还是属于难度较大的一套卷子。
其中机械的平衡题计算量很大,而且题目本身有点难度,部分同学可能不知道怎么下手。

今年的创新设计题是让设计一个单自由度的公共汽车开闭门机构,孙桓教材的课后习题刚好有一些题目可以作为这题的答案。




5.上海大学





2027机械考研全攻略:涵盖200所大学考研星评;往年各高校报考及录取情况;校考研难度排行榜;各校录取考生分数分布;机械专业考研经验。

【END】
往期精彩推